Robe jardin 6 ans

Pour réaliser ce travail, en T.6 ans il faut:

* tout le nécessaire de couture: aiguilles, fil, ciseaux, machine à coudre, etc...

* 1,25 m de coton quadrillé en 0,90

* 0,80 m de coton fleuri en 0,90

* 2 petits boutons

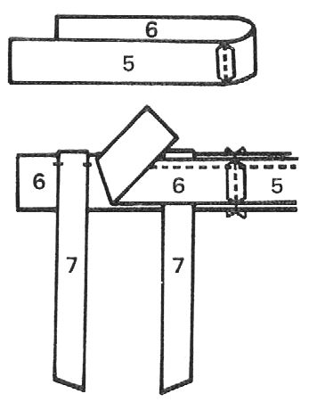
Patron 1 et 2

1 cm des schémas = 10 cm de vos tissus

 

Patron extrait de "Couture simplifiée"

    Coupe

    Pliez-les endroit contre endroit et posez-les sur une table ( leur envers contre celle-ci) puis tracez toutes les pièces placées sur les schémas côtés

    Coupez les tissus sans oublier 1cm de + pour les coutures et un ourlet de 2 cm pour la base des volants

    Couture

    * Réunir le devant n°1 de la jupe au dos n°2 par les coutures de côtés en réservant une ouverture au côté gauche

    * Assembler et fermer les volants n°3 et n°4 puis piquez un petit ourlet rentré à la base de ceux-ci. Plier contre l'envers le rentré pris à même le volant n°4 puis froncez le haut des volants aux dimensions du bas de la jupe.

    * Monter le volant n°3 le long de la base de la jupe puis piquez le volant n°4 à l'emplacement tracé sur le schéma. Froncer le haut de la jupe à la dimension correspondante de l'empiècement

    * Réunir le devant n°5 au dos n°6 de l'empiècement par la couture du côté droit, ceci pour le desssous et le dessus. Préparer les bretelles n°7 et batissez-les sur le dessus de l'empiècement devant et dos, à 6 cm des milieux.

    * Bâtir le dessous sur le dessus en le superposant aux bretelles, le piquer le long du bord et des extrêmités puis retourner.

    * Monter le dessus de l'empiècement le long de la jupe puis rabattre le dessous contre l'envers au niveau de la piqure de montage. Broder deux brides et coudre les boutons correspondants.

    * Surfiler les coutures

     

Bonne couture, n'hésitez pas à m'écrire, ici !

 

 

le 03 juillet 2017 - conception mise en page graphisme ©Au jardin de Valentine